ISDMTB60 0 0210 2.10
Item no.
50194
Characteristics
| β (°) : Spiral angle: | |
| Coating: | |
| Internal cooling: | |
| Cutting direction: | |
| Tool material: | |
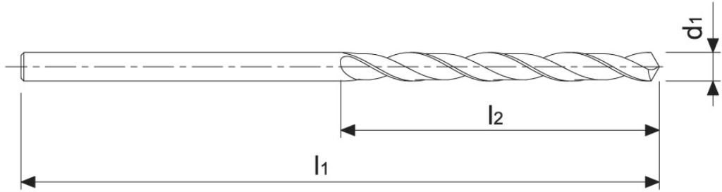
| Ø d2 (mm) : Shank diameter: | |
| m (°) : Point angle: | |
| Standard: | |
| L2 (mm) : Effective length: | |
| l1 (mm) : Overall length: | |
| Ø d1 (mm) : Bore diameter: |


